Immersion TTG UV Systems For Storage Tanks

TTG UV Immersion Units

The TTG UV systems are designed to sterilize tank headspace as well as deliver germicidal UV energy to the liquid in the tank. The lamp is housed in a quartz sleeve for protection, as the lamp is partially submerged, suspended in the tank by a double-grooved gasket. The stainless steel electrical enclosure (which also holds the lamp in place) fits on top of the tank and features a Tube Guard to indicate that the lamp is operating properly. These fixtures are offered in 18", 28", 36" and 64" insertion depths to fit a variety of liquid holding tank sizes.

When used with in-line UV liquid disinfection, the product will be 99% free of microorganisms.

Stainless steel Immersion UV unit with quartz sleeve and tube guard models:

TTG-10-4P - One lamp 18" system with Slimline GML350 UV lamp
TTG-24-4P - One lamp 27" system with Slimline GML355 UV lamp
TTG-36-4P - One lamp 36" system with Slimline GML100 UV lamp
TTG-64-4P - One lamp 64" system with Slimline GML270 UV lamp

Hg-LAMP CONTAINS MERCURY
Dispose according to local state and federal laws.

Contact us about this product

Ultraviolet Immersion Systems Technical Data
best viewed on large screen

Stainless steel Immersion UV System with quartz sleeve and tube guard (13¾" L x 3" W + insertion depth)
All models are for 120V or 277V 60Hz with an On/Off Switch and 8' grounded power cord

UV System Models Description and Dimensions
TTG-10-4P One lamp 18" unit with Slimline GML350 UV lamp
TTG-24-4P One lamp 27" unit with Slimline GML355 UV lamp
TTG-36-4P One lamp 36" unit with Slimline GML100 UV lamp
TTG-64-4P One lamp 64" unit with Slimline GML270 UV lamp

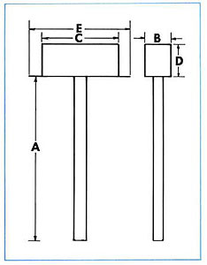
A - Quartz Sleeve Depth
B - Ballast Housing Width
C - Ballast Housing Length
D - Ballast Housing Height
E - Overall Length including Mounting Tabs

All models TTG UV systems have four 9/32" mounting holes
on 14.5" x 1.5" centers.

Quartz Sleeves: 38mm OD, 2mm Wall, 44mm Flare OD with 2mm Flare Lip

Ultraviolet Sterile Conditioners Technical Data
best viewed on large screen

Germicidal ultraviolet systems for liquid storage tanks (liquid sugar / syrup and water). Sterile conditioners, vents, blowers using two germicidal UV lamps, 10 micron filters and HEPA filters. All conditioner systems constructed of high grade 304 stainless steel.

UV System
Model

UV Lamp
Watts
UV Watts Amps A B C D E
TTG-10-4P 16 5.3 0.6 18" 3" 13¾" 4.5" 15¾"
TTG-24-4P 24 5.5 1.0 28" 3" 13¾" 4.5" 15¾"
TTG-36-4P 39 13.8 1.0 36" 3" 13¾" 4.5" 15¾"
TTG-64-4P 65 26.7 1.0 64" 3" 13¾" 4.5" 15¾"